在摩爾多瓦釀酒商的共同努力下,盡管新冠疫情造成了一定的負面影響,摩爾多瓦向海外市場出口葡萄酒的總趨勢依然是樂觀的。

摩爾多瓦近五年上半年葡萄酒出口總額數據
1、總出口量小幅波動
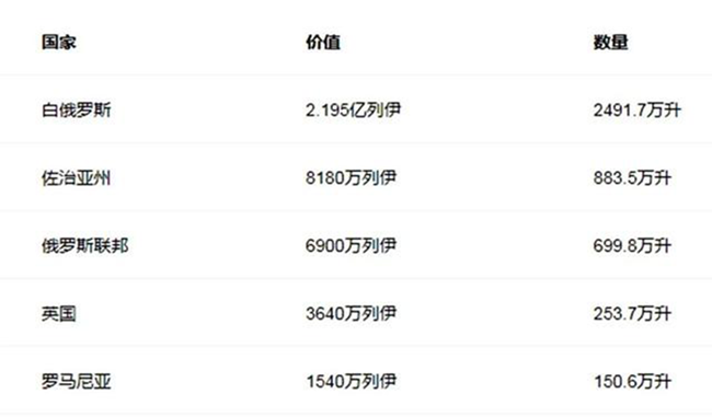
2020年前6個月,摩爾多瓦葡萄酒出口到全世界56個國家和地區,其中羅馬尼亞、烏克蘭和捷克共和國的需求增加,而俄羅斯聯邦和白俄羅斯的需求減少,這種波動與新冠全球大流行局勢和實物進出口暫時停止有關。
統計數據顯示,今年上半年,摩爾多瓦葡萄酒出口總量為6950萬升,比去年同期下降3.4%(即減少了240萬升)。
在總出口量中,靜止葡萄酒占94%,加強酒占2.6%,蒸餾酒占2.2%,起泡葡萄酒占近1%。
摩爾多瓦向56個國家和地區的出口總額為12.478億列伊, 比2019年前6個月下降了5.7%(即減少了7470萬列伊)。
在出口總收入中,靜止葡萄酒占80.2%,蒸餾酒占14.5%,加強酒占3.3%,起泡葡萄酒占近2%。
2、短暫下降后迅速回升
今年前兩個月,摩爾多瓦葡萄酒的出口和收入均大幅增長。新冠爆發導致3月至5月出口量明顯下降,其中,近年來增長最快的出口市場——中國,是下降最明顯的市場之一。
自6月以來,葡萄酒出口趨勢有所回升,與2019年6月相比,葡萄酒的出口量增長了0.6%,出口額增長了1.5%。
3、瓶裝出口量明顯增加
統計數據顯示,與2019年上半年相比,今年上半年瓶裝葡萄酒出口增長了5.7%。主要出口國包括羅馬尼亞、波蘭和捷克共和國。


4、散裝出口量略有縮減
與此同時,散裝葡萄酒的出口量同比下降了6.3%,跌幅最大的市場是俄羅斯聯邦和白俄羅斯。


為刺激2020年下半年和2021年初的葡萄酒出口,摩爾多瓦國家葡萄和葡萄酒局正在制定一項計劃,以加大力度促進葡萄酒行業在本地和國際市場的發展。
主要目標將集中面向數字媒體,擴大電子商務在所有戰略市場上的占有率,以及加大國際市場的交流。